- Spring用到了哪些设计模式
- 工厂模式
Spring使用工厂模式可以通过 BeanFactory 或 ApplicationContext 创建 bean 对象。
-
工厂方法
-
单例
-
适配器
-
代理
-
观察者
-
模板
-
AOP的实现方式
- 静态代理
- 动态代理
- JDK动态代理
- CGLib动态代理
-
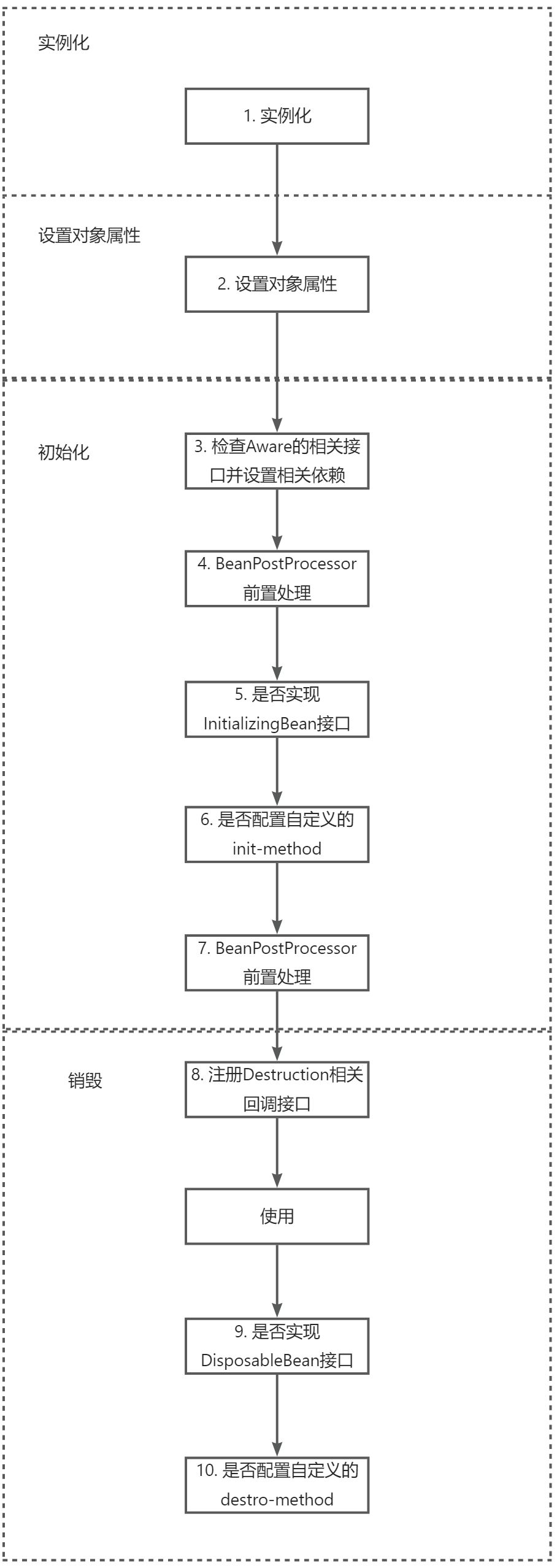
spring bean的生命周期

-
BeanFactory和FactoryBean的区别
-
@Autowired和@Resource的区别?
-
@Qualifier 注解有什么作用
-
Spring怎么解决循环依赖的问题?
-
事务失效原理?
-
Spring事务传播机制?